Huawei´s upcoming AR glasses will have a detachable smart ring strap

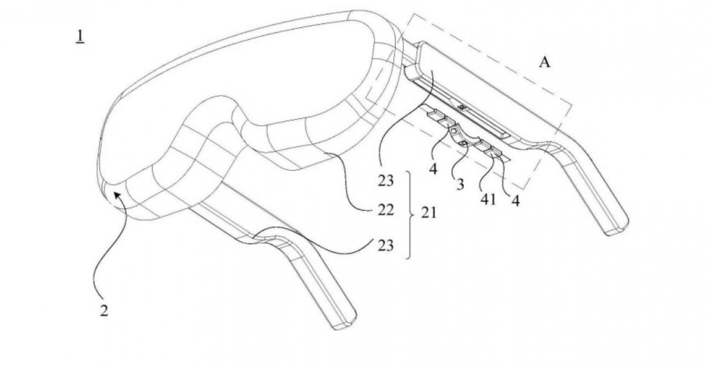
A new Huawei patent reveals plans for AR/VR glasses with a removable strap that doubles as a smart ring. The ring would let users control the interface through gestures, pointing and navigation, and it recharges when docked into the headset — removing the need for a separate controller.

For now, it’s just a patent filing, so there’s no guarantee Huawei will turn it into a real product.

Source: GSMArena

Leave a Reply

Your email address will not be published. Required fields are marked *